Декоративные элементы
Вместо полноценных карманов можно сделать клапаны. Вырезав 2 одинаковых прямоугольника, прострочите их и выверните. Прогладьте утюгом. Вновь прострочите края.
Подобным образом сделайте 2 погона. Края, особенно для мальчиков, лучше закрепить пуговицами, будет смотреться эффектнее.
Длина изделия всегда определяется индивидуально. Считается, что девочкам нужна гимнастерка длиннее, чем мальчикам. Если после пошива останется ткань, то лучше изготовить под гимнастерку юбку, а мальчику — шорты или штаны и обязательно пилотку. Тогда костюм получится полноценным. Красную звезду, широкий пояс и другие элементы можно приобрести готовыми в магазине.
Ткань потребуется плотная, однотонная. Подойдут серый, зеленый или светло-коричневый цвета.
Обработка обтачкой застежки на шнуровке
Если изделие со швом и в этом шве нужно сделать застежку на шнуровке, то обработка осуществляется за счет увеличения ширины припусков на шов в области застежки. Припуски с изнаночной стороны по линии перегиба нужно усилить клеевой прокладкой. Усиление необходимо только в области застежки. По перегибам припусков проложить отделочную строчку. Далее наметить и установить блочки.
Если же деталь целая, без шва, то края застежки нужно обтачать деталью из основной ткани (строчка 1 на илл. 06). Обтачку предварительно нужно усилить клеевой прокладкой и обметать по внешнему срезу на оверлоке. Проложить отделочную строчку вдоль краев застежки швом шириной 0,2 см (строчка 2 на илл. 06). Приутюжить. Наметить положение блочек для шнуровки. Установить блочки. Продеть шнур через блочки.
Что потребуется для пошива
Готовые выкройки можно скачать или срисовать, выбрав подходящие в интернете. Советская солдатская гимнастерка 40-х годов — военная рубашка особого кроя, имеющая несколько пуговиц, пару нагрудных карманов и пояс-ремень с с большой блестящей бляхой. Воинские звания различались погонами или нашивками.
Что понадобится:
- плотная ткань темного цвета (хаки, серый, болотно-зеленый) — 1 м.;
- пуговицы блестящие — 6 шт.;
- широкий пояс, бляха;
- пуговицы простые — 2 шт. (на погоны);
- нитки, иголки;
- выкройка.
Металлические пуговицы и ремень можно приобрести в специализированном магазине.
Совет! Сшейте к гимнастерке пилотку, тогда костюм будет законченным. Наряд женщины дополняют юбкой похожей расцветки (или черной), а мужчины — брюками.
Закрепление на рубашке
Как закрепить погоны на рубашку надежно и при помощи подручных средств? Для того чтобы это сделать, понадобятся следующие материалы: две пуговицы на ножке, две пуговицы с отверстиями, скрепка, нитки с иголкой, ножницы , резак, плоскогубцы, скотч.
- Скрепку необходимо разогнуть и разрезать на две одинаковые части. Одну часть скрепки нужно изогнуть так, чтобы она получилась в итоге напоминающую английскую букву «W». Среднюю часть немного нужно изогнуть вверх.
- Далее необходимо взять пуговицу на ножке и вставить ее в погон . На любом погоне имеется отверстие для пуговицы . Именно туда ее помещаем. Следующим шагом будет расположение скрепки внутри пуговицы . Аккуратно размещаем скрепку внутри ножки. Благодаря такому приспособлению пуговица закреплена достаточно плотно на погоне.
- При помощи нитки и иголки необходимо пришить закрепку на погоне. Для надежности нитку несколько раз обводят вокруг скрепки и продевают в ножку пуговицы .
- К ней необходимо пришить другую пуговицу с двумя отверстиями. При таком методе получается двойная пуговица, нижнюю часть которой можно продеть в рубашку. Как закрепить погоны на рубашке при помощи этой пуговицы? В военной рубашке в месте крепления погона обязательно должны присутствовать прорези для пуговиц. Останется только провести пуговицу в прорезь на рубашке.
Но как легко одеть погоны на форменную рубашку? Для облегчения этого процесса понадобится скотч. Им оклеивают свободный конец хлястика, который продевается в петлю на рубашке. Это дает возможность без труда провести конец в петлю. Обычно хлястик выполнен из мягкой и гнущейся ткани. В таком варианте ткань не гнется и легко проходит в петлю.
Как пришить погоны к рубашке, прописано в уставе. Там четко оговорено, каким образом это нужно делать военнослужащему. Несоблюдения этих правил может закончиться тем, что их сорвут с плеч во время смотра проверяющие. К рубашке обычно погоны не пришиваются, а пристегиваются. Это особенно актуально в летнее время, когда китель не надевается поверх рубашки .
Но бывает и пришивной вариант погон . Сначала нужно приколоть погон к рубашке, а затем мелкими стежками пришить его к ней. Цвет ниток необходимо подбирать того же оттенка как кант. Шов не должен быть виден. Для облегчения прокалывания ткани, лучше это делать в отверстия имеющегося шва на погоне. Расположение погон необходимо проверять при помощи линейки. В уставе прописано, что расстояние от плечевого шва до верхней границы погона должно быть 1 сантиметр.
Пошив
Процесс пошива:
Раскроив гимнастерку по выкройкам, отдельно вырежьте нужные декоративные элементы.
Втачная планка
- Изготовьте планочки, вырезав 2 тканевые полоски 16×7 см, согните. Потребуются 2 одинаковые по размерам планки.
- Приколите готовые планки иголками к переду гимнастерки по бокам, следуя нарисованным заранее линиям. Оставьте 3,5 см снизу. Проверьте расположение — верхняя должна полностью прикрывать нижнюю.
- Прострочите планки и концы обеих выведите вперед. Теперь нижнюю слегка укоротите ножницами. Оставшийся треугольник загните также к лицевой стороне. Подверните кончик, аккуратно прошейте его крест-накрест.
Воротник-стойка
Классический вариант дугообразный, но проще вырезать тонкую полоску. Фактически ширина ее в 2 раза выше желаемой высоты будущего воротника плюс сантиметр. Выкроив полоску, пришейте ее по контуру горловины.
Манжеты
Манжеты: раскроите, сделав небольшой бумажный прямоугольник 8×1 см. Пришейте обе планки, сопоставьте их вместе. Загните кончики. Прошейте, следуя контуру.
Карман с клапаном
Рукава: прострочив верх, слегка подсоберите его, чтобы аккуратнее сел в плече. Теперь пришейте оба готовых рукава, сопоставляя центры.
Соедините 2 детали (готовый перед и спинку). Сшейте их.
Обработайте низ, петли и пришейте все пуговицы.
Простые способы
Существует несколько таких вариантов: на спичку, на булавку, на кант, на скрепку.
- Прикрепление на скрепку. Для того чтобы понять как прикрепить погоны на рубашку этим методом необходимо пошагово выполнять следующие действия. В первую очередь сами знаки отличия и рубашку необходимо тщательно отгладить. Это действие производится для того, чтобы они лучше лежали на рубашке. При таком методе они прикрепляются при помощи скрепки, которая продевается в пуговицу, для закрепления на рубашке. С помощью этого варианте скрепка хорошо удерживает пуговицу и тем самым она остается на одном месте.
- Крепление погона при помощи булавки. Как крепить погоны при помощи булавки? Этот метод крепления не совсем надежный. Так как прикрепленный таким способом погон постоянно двигается. Булавку приходится загибать особенным способом, для того, чтобы она хорошо его держала. Это очень неудобно потому, что булавка имеет способность открываться в самый неожиданный момент.
- Крепление на кант. Такой вариант подходит для крепления погон в определенных воинских подразделениях. Он крепится на специальный кант, который пришивается вместе с ним к рубашке. Этот вариант достаточно надежен, но при желании постирать рубашку, придется отпарывать погоны вместе с кантом, что не всегда удобно.
- Крепление на спичку. Как приделать погоны к летней рубашке при помощи спички? Это народный способ крепления. Такой вариант не прописан ни в одном уставе, но его применяют уже давно. Спичка продевается в ушко пуговицы , для того, чтобы она хорошо держалась. Но ненадежность такого способа под сомнением. Спичка может поломаться в самый неожиданный момент.
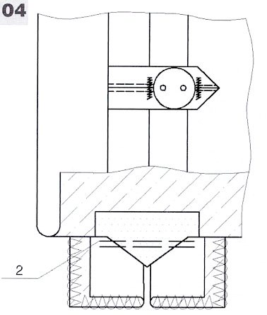
Обработка застежки поло в рамку
Для этой застежки поло (илл. 04) потребуются две обтачки из основного или отделочного материала. На иллюстрации 04 показан вариант обработки с клеевым долевиком и с обтачками без клеевых прокладок.
Если требуется по модели, обтачать верхние срезы обтачек швом шириной 0,7 см, перегибая обтачку на две трети ширины. Это позволит избежать толщины в области швов. Вывернуть обтачки на лицевую сторону, выправить швы и углы. Приутюжить обтачки.
Обметать выступающий длинный срез обтачек на оверлоке.
С лицевой стороны изделия наметить прямой линией положение разреза для застежки поло. Вырезать участок детали, как в застежке поло с втачными планками, здесь не требуется, так как ширина застежки в готовом виде 2 см. С изнаночной стороны изделия в области конца застежки приклеить долевик из клеевого прокладочного материала.
Притачать обтачки к основной детали швами шириной по 1 см (строчки 1 на илл. 05), располагая их сгибы в противоположные стороны от намеченной линии прорези застежки.
Застежку поло в рамку оформить навесными петлями (илл. 04), выполненными из основного материала, тесьмы, шнура и т.д. Их положение нужно предварительно наметить, а потом настрочить на одну из обтачек застежки: если это женское изделие, то на правую обтачку, если мужское, то на левую.
Разрезать основную деталь между строчками притачивания обтачек, внизу надсечь на угол, не доходя до швов притачивания 0,1 см. Выправить обтачки и швы. Нижний конец застежки поло закрепить двойной строчкой (строчка 2 на илл. 04). Приутюжить застежку.






